Konstruktion hochwertiger Antriebssysteme Freiläufe mit hoher Einbauflexibilität

Von Mirco Stein, Freier Fachjournalist 3 min Lesedauer

Anbieter zum Thema

Wegen ihrer Vielseitigkeit und ihrer montagetechnischen Flexibilität gehören die Komplettfreiläufe der Serie BM von Ringspann zu den Favoriten der Konstrukteure im internationalen Maschinen- und Anlagenbau. Sie kommen vorrangig als Rücklaufsperren in Getrieben und als Überholfreiläufe in Mehrmotor-Antriebssystemen zum Einsatz. Lesen Sie hier, welchen praktischen Mehrwert sie bieten.

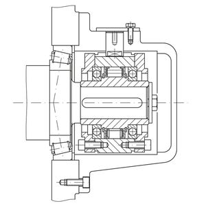
Montagetechnisch flexibel: Die Komplettfreiläufe der Serie BM von Ringspann gehören zu den Favoriten der Konstrukteure im Maschinen- und Anlagenbau. Sie stehen zwei Grundversionen mit Klemmrollen und Klemmstücken Typ X für Anwendungen mit schnell drehendem Innenring zur Verfügung. (Bild:  Ringspann)
Montagetechnisch flexibel: Die Komplettfreiläufe der Serie BM von Ringspann gehören zu den Favoriten der Konstrukteure im Maschinen- und Anlagenbau. Sie stehen zwei Grundversionen mit Klemmrollen und Klemmstücken Typ X für Anwendungen mit schnell drehendem Innenring zur Verfügung.
(Bild: Ringspann)

Viele Konstrukteure qualitativ hochwertiger Antriebssysteme für den Einsatz in Produktionsmaschinen und Fertigungsanlagen entscheiden sich bei der Auswahl der nötigen Freiläufe für Lösungen aus dem One-Stop-Shop von Ringspann. Besonders reger Nachfrage aus diesem Segment der Investitionsgüter-Industrie erfreuen sich derzeit die Komplettfreiläufe der Baureihe BM des Herstellers. Hierbei handelt es sich um kugelgelagerte, abgedichtete Freiläufe, die ölgefüllt und montagefertig geliefert werden. Sie stehen serienmässig in 19 Grössen mit Bohrungsdurchmessern von bis zu 150 mm und für Nenndrehmomente von 150 bis 57 500 Nm zur Verfügung. Manuel Assmann, Konstrukteur in der Freilauf-Sparte von Ring­spann, weist an dieser Stelle ausserdem darauf hin, «dass das maximal übertragbare Drehmoment dieser Freiläufe doppelt so hoch ist wie das angegebene Nenndrehmoment, und dass die Ausführungen mit Bohrungen von 15 bis 90 mm den Kunden sehr kurzfristig bereitgestellt werden können.» Allein damit deckt das Unternehmen bereits eine grosse Bandbreite an Anwendungen ab, die typisch sind für den Maschinen- und Anlagenbau. Bei näherem Hinsehen zeigt sich dann, dass die Komplettfreiläufe der BM-Serie in der Hauptsache als Rücklaufsperren in Getrieben und als Überholfreiläufe in den Antriebssträngen von Mehrmotor-Aggregaten zum Einsatz kommen. Das bedeutet: Die Konstrukteure nutzen sie sowohl für die Realisierung von Sicherheits- und Not-Aus-Einrichtungen (Rücklauf-/Drehrichtungssperre) als auch für die Konfiguration von Kupplungslösungen (Überhol-/Mitnahmefunktion).

Apropos Gehäusefreiläufe

Als Weltmarktführer der Freilauftechnik bietet Ringspann auch eine grosse Palette an Gehäusefreiläufen an. Um Konstrukteuren, Produktentwicklern und Technischen Einkäufern an dieser Stelle seines One-Stop-Shops die Auswahl und Auslegung zu vereinfachen, hat das Unternehmen kürzlich einen neuen Online-Konfigurator freigeschaltet. Er führt durch alle relevanten Daten und Auswahloptionen und zeichnet sich durch eine Berechnung des erforderlichen Drehmoments aus, das die eingegebenen Leistungsdaten berücksichtigt und unter Einbeziehung eines Sicherheitsfaktors automatisch das Drehmoment ermittelt. Nach der Berechnung fliessen die spezifizierten Werte in die Produktauswahl mit ein und münden in einem Vorschlag für den passenden Gehäusefreilauf. Anschliessend kann aus dem Tool heraus eine Anfrage an Ring­spann gesendet werden.

Passfeder-Nut-Verbindung bietet Vorteile

Die besondere Attraktivität der BM-Komplettfreiläufe von Ringspann für antriebstechnische Anwendungen im Maschinen- und Anlagenbau beruht darüber hinaus auf einigen entscheidenden Details ihrer Konstruktion. Erwähnenswert ist hier vor allem die Passfeder-Nut-Verbindung am äusseren Ring des Freilaufs. Sie bietet drei ganz konkrete Vorteile: Eine vielseitige und unkomplizierte Integration der Freiläufe in neue und bestehende Konstruktionen, einen auf ein Minimum reduzierten Montageaufwand und eine hohe Funktionssicherheit. Manuel Assmann erklärt dazu: «Unsere Passfeder-Nut-Verbindung vereinfacht den Ein- und Ausbau des Freilaufs. Ausserdem erfolgt die Kraftübertragung über eine mittig in den Aussenring eingefräste Passfedernut. Das gewährleistet eine gleichmässige Verteilung der auf den Freilauf wirkenden Kräfte, was ihm eine hohe Betriebssicherheit und Standzeit verleiht.» Bevorzugt es der Kunde allerdings, anstelle der Passfeder-Lösung einen radial verschiebbaren Haltebolzen zu verwenden, lässt dieser sich bei Wartungsarbeiten herausziehen, so dass das Antriebssystem dann rückwärts gedreht werden kann.

Bildergalerie

Klemmstück-Abhebung X als Alternative

Typisch für Ringspann ist, dass auch die einsatzfertigen Komplettfreiläufe der BM-Serie in zwei Grundausführungen mit verschiedenen Klemmelementen zu haben sind: In der Bauart Standard verfügen sie über Klemmrollen – und eignen sich dann auch als Vorschubfreiläufe; in der zweiten Bauart hingegen arbeiten in ihrem Inneren Klemmstücke des speziell von Ringspann entwickelten Typs X. Da diese Klemmstücke aufgrund ihrer besonderen Geometrie fliehkraftbedingt im Leerlaufbetrieb von der äusseren Ringbahn des Freilaufs abheben, arbeiten die damit ausgestatteten BM-Komplettfreiläufe weitgehend verschleissfrei und erreichen eine sehr hohe Lebensdauer. «Dies gilt für ihren Einsatz in der Rücklaufsperr- und Überholfunktion und kommt unter der Voraussetzung zum Tragen, dass der innere Ring des Freilaufs im Leerlaufbetrieb einer hohen Wellendrehzahl folgen muss, der Mitnahmebetrieb in der Überholfunktion aber langsam läuft – was durchaus typisch ist für viele Applikationen im Maschinenbau», erläutert Manuel Assmann.

Als typische Anwendungen der BM-Komplettfreiläufe im Maschinen- und Anlagenbau lassen sich beispielhaft noch nennen: Ihr Einsatz als Rücklaufsperre in Stirnradgetrieben oder Schnecken- und Schraubenpressen, als Komponenten der Antriebssysteme von Kettenrädern, als Überholfreilauf zum drehzahlabhängigen Ein- und Auskuppeln der Antriebswellen von in Reihe geschalteten Motoren und vieles andere mehr. Dabei bietet Ringspann seinen Kunden neben der hohen Qualität und der hohen Verfügbarkeit seiner lebensdauer-optimierten, einbaufertigen Komplettfreiläufe immer auch die Möglichkeit, anwendungsspezifische Varianten zu konfigurieren oder herstellereigene Sonderlösungen zu realisieren.

(ID:50116832)

Jetzt Newsletter abonnieren

Verpassen Sie nicht unsere besten Inhalte

Mit Klick auf „Newsletter abonnieren“ erkläre ich mich mit der Verarbeitung und Nutzung meiner Daten gemäß Einwilligungserklärung (bitte aufklappen für Details) einverstanden und akzeptiere die Nutzungsbedingungen. Weitere Informationen finde ich in unserer Datenschutzerklärung. Die Einwilligungserklärung bezieht sich u. a. auf die Zusendung von redaktionellen Newslettern per E-Mail und auf den Datenabgleich zu Marketingzwecken mit ausgewählten Werbepartnern (z. B. LinkedIn, Google, Meta).

Aufklappen für Details zu Ihrer Einwilligung